Про регулировку ГП на Suzuki Jimny. Попробую изложить свой субъективный взгляд на проблему.
Как таковая регулировка состоит из двух частей:
1. Регулировка положения ведущей шестерни ("морковки").
2. Регулировка положения ведомой шестерни (которая крепится к дифференциалу).
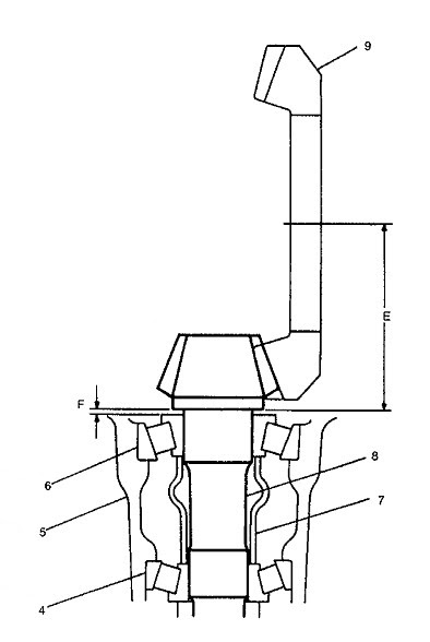
Начнем с первой регулировки, как более сложной. Для чего она нужна? Вот рисунок из инструкции по ремонту:

Гипоидная передача рассчитана на определенное расстояние E между осью вращения ведомой шестерни (9) и посадочной плоскостью ведущей шестерни. Теоретически это расстояние равно 85 мм для переднего редуктора старого образца и 94 мм для переднего редуктора нового образца и заднего редуктора.
На практике это расстояние может оказаться другим из-за трех факторов:
1. Несоответствие размеров корпуса редуктора.
2. Несоответствие размеров самой пары шестерен.
3. Несоответствие размеров переднего подшипника (6) ведущей шестерни .
Наложение отклонений размеров от теоретических приводит к необходимости скомпенсировать расстояние F. Для этого и применяют регулировочную шайбы, которые располагаются между опорной плоскостью ведущей шестерни и подшипником (6).
Как влияют эти факторы?
Лично я считаю, что влияние несоответствия размеров подшипника можно не учитывать. Не искал допуски, но мне представляются, что
эти подшипники c учетом их заявленных размеров (30x72x20.75 и 35x80x22.75) и культуры производства должны укладываться в допустимые погрешности. Поэтому мне представляется, что замена подшипников ведущей шестерни может быть проведена без необходимости нового подбора регулировочных шайб (естественно, при условии, что до этого они были правильно подобраны).
Если говорить про несоответствие размеров самой пары шестерен, то, да, до определенного момента времени реальное расстояние E конкретной пары измерялось при производстве и было написано на ведущей шестерне. Но потом (примерно 2002 год, хотя могу ошибаться) это расстояние перестало указываться на шестерне, тем самым Suzuki нам как бы гарантирует, что оно точно равно необходимым 85 мм/94 мм (по крайней мере так написано в инструкции по ремонту).
А вот несоответствие размеров корпуса редуктора теоретическим - это и есть основная причина регулировки. Конечно, если есть хитрая приспособа, описанная в инструкции по ремонту, то можно замерить реальное расстояние конкретного корпуса редуктора. Но если такой приспособы нет, то придется за базу брать те регулировочные шайбы, что уже стоят на ведущей шестерне.
Итак, по моему мнению:
1. Если меняем подшипники ведущей шестерни, то регулировочные шайбы не трогаем вообще.
2. Если меняем ГП, но на старой и на новой ведущих шестернях нет обозначения размера E, то регулировочные шайбы просто переставляем со старой шестерни на новую.
3. Если меняем шестерни, но хотя бы на одной ведущей шестерне указан реальный размер E, то считаем разницу (для шестерни с неуказанным размером берем расстояние E равным 85 или 94 в зависимости от типа редуктора). Соответственно, при разных расстояниях E увеличиваем или уменьшаем суммарную толщину регулировочных шайб (или шайбы) для новой шестерни.
4. Если ведущая шестерня не трогается вообще (меняются только дифференциал, его детали, его подшипники), то, конечно, регулировку проводить не нужно.
Все это в предположении, что до этого регулировка была выполнена правильно.
Конкретно в моем случае (передний редуктор старого образца) на снятой ведущей шестерне было нацарапано 85.00, на новой ничего не было написано (значит считаем, что 85). Соответственно, толщину шайбы не нужно было менять, просто переставил ее.

Продолжим. Между подшипниками ведущей шестерни ставится одноразовая втулка (7), которая при затягивании гайки фланца сжимается и обеспечивает преднатяг. Втулка одноразовая! Но если мы хотим проверить регулировку положения ведущей шестерни путем проверки пятна контакта, то можно временно собрать редуктор, используя старую втулку (или не используя ее вообще). Важно лишь выбрать люфт в подшипнике 6. Но после проверки нужно обязательно пересобрать, используя новую втулку и добившись указанного в инструкции натяга подшипников.
Теперь про вторую регулировку - регулировку положения ведомой шестерни. Там все проще. Рекомендую раздобыть микрометр и магнитное основание и сделать регулировку зазора как описано в инструкции (0.10-0.20 мм):

Давно уже заказал магнитное основание из Китая (так себе, но для такой задачи подойдет), микрометр взял из какого-то старого советского набора для регулировки клапанов (обычный микрометр, но с тоненьким и длинным наконечником, что очень удобно для данной задачи).
Микрометр нужно размещать максимально близко по касательной, упирая во внешний край "прямой" (а не "наклонной") стороны зуба (то, что в английском называется convex).
Замерять зазор нужно удерживая ведомую шестерню на месте (за фланец) и покачивая ведомую.
В принципе, нужный зазор после небольшой тренировки ощущается руками. Особенно, когда рядом есть правильно собранный редуктор для сравнения.
Есть и другой вариант: фиксировать ведомую шестерню, а зазор смотреть на ведущей шестерне (оценивать зазор удобно по движению защитной "юбки" фланца относительно корпуса редуктора). Только для "калибровки" нужно посмотреть, каков этот зазор на правильно собранном редукторе. Способ погрубее, но в умелых руках может обеспечить требуемую точность.
Важно промерять зазор в нескольких точках ведомой шестерни (при разном положении этой шестерни относительно ведущей). Это позволит выявить деформацию ведомой шестерни или кривой дифференциал (особенно актуально для китайских пневмоблокировок, где из-за некачественной сборки такое изредко выползает).
И, конечно, не стоит забывать, что кроме положения ведомой шестерни нужно еще обеспечить натяг подшипников дифференциала. Об этом достаточно подробно написано в инструкции по ремонту.
Для общей проверки регулировок нужно провести проверку пятна контакта. Об этом подробно везде написано. Скажу лишь, что я использовал акриловую желтую краску (для художественных работ). Наносить кисточкой. При вращении ведущей шестерни ведомую нужно притормаживать рукой для более четкого отпечатка. Картинки правильного пятна в инструкциях обычно людям без опыта ни о чем не говорят (слишком уж схематично изображено), но правильное пятно можно увидеть, если до этой проверки присмотреться на следы износа на ведомой шестерне (следы притирки должны быть даже на новой шестерне, иначе это какая-то подделка или брак). Вот к этому и нужно стремиться (если, конечно, до этого пятно было правильно отрегулировано).